|
|
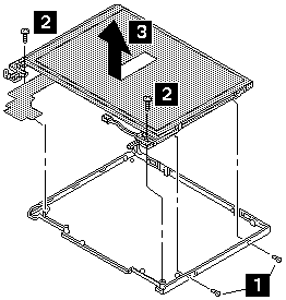
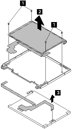
13.1-Inch XGA TFT LCD

| Step | Screw (Quantity) | Color | Torque |
|---|---|---|---|
| 1 | M2.5 x 3mm (2) | Yellow | 4 kgcm |
| 3 | M2.5 x 3mm (2) | Yellow | 4 kgcm |

| Step | Screw (Quantity) | Color | Torque |
|---|---|---|---|
| 4 | M2.5 x 3mm small head (2) |
Yellow | 4 kgcm |

12.1-Inch SVGA TFT LCD

| Step | Screw (Quantity) | Color | Torque |
|---|---|---|---|
| 1 | M2.5 x 3mm (4) | Yellow | 4 kgcm |
Please see the LEGAL - Trademark notice.
Feel free - send a
for any BUG on this page found - Thank you.