Return to MAIN-Index  Return to SUB-Index    IBM-AUSTRIA - PC-HW-Support    30 Aug 1999

Center Cover (TP 570 - 2644)



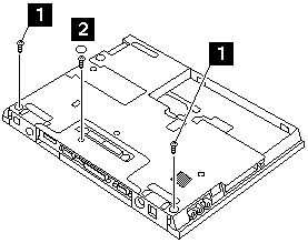
Center Cover


 

 

Step Screw (Quantity) Color Torque
1 M2.5 x 3mm (2) Yellow 4 kgcm
2 M2.5 x 9mm (1) Black 4 kgcm
3 M2.5 x 9mm (1) Black 4 kgcm

 


More INFORMATION / HELP is available at the  IBM-HelpCenter

Please see the LEGAL  -  Trademark notice.
Feel free - send a Email-NOTE  for any BUG on this page found - Thank you.