 |
IBM-AUSTRIA - PC-HW-Support 30 Aug 1999 |
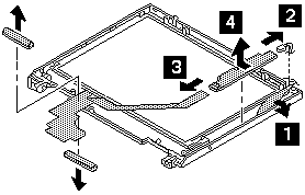
Inverter Card (TP 570 - 2644)
Inverter Card
NOTE: Be careful of high voltage on the cable.
Connect the LCD connector firmly to the inverter card by lifting
them up straight.
13.1-Inch XGA TFT LCD
| Step |
Screw (Quantity) |
Color |
Torque |
| 1 |
M2.5 x 3mm (1) |
Yellow |
4 kgcm |
12.1-Inch SVGA TFT LCD
More INFORMATION / HELP is available at the IBM-HelpCenter
Please see the LEGAL - Trademark notice.
Feel free - send a
for any BUG on this page found - Thank you.