Return to MAIN-Index  Return to SUB-Index    IBM-AUSTRIA - PC-HW-Support    30 Aug 1999

1140 LCD Inverter Card (2635-380/385)



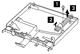
1140 LCD Inverter Card


DSTN LCD

 

Step Location (Quantity) Length
1 LCD Inverter Card (1) M2.5 x 6mm


NOTE: When replacing, make sure you use the correct screw.

TFT LCD (Type 2 only)


 

Step Location (Quantity) Length
2 LCD Inverter Card (2) M2.0 x 3.7mm


NOTE: When replacing, make sure you use the correct screw.


Back to  Jump to TOP-of-PAGE
More INFORMATION / HELP is available at the  IBM-HelpCenter

Please see the LEGAL  -  Trademark notice.
Feel free - send a Email-NOTE  for any BUG on this page found - Thank you.