Return to MAIN-Index  Return to SUB-Index    IBM-AUSTRIA - PC-HW-Support    30 Aug 1999

SCSI Backplane (Netfinity 7000 - 8651)



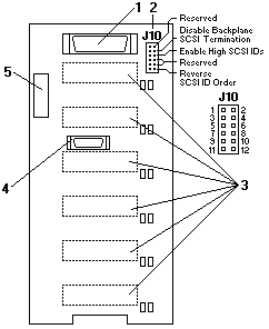
SCSI Backplane

 
  1.  Wide (16 bit) SCSI connector
  2.  J10 Option jumper block
  3.  SCSI hot swap drive connectors (on opposite side of backplane)
  4.  Repeater card connector
  5.  Power connector

See Part-Two (fullscreen)