Return to MAIN-Index  Return to SUB-Index    IBM-AUSTRIA - PC-HW-Support    30 Aug 1999

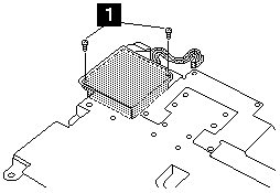
Fan (TP 570 - 2644)



Fan


 

NOTE: Do not pinch the fan cable when re-installing the fan.

Step Screw (Quantity) Color Torque
1 M2 x 9mm (2) Black 2 kgcm


More INFORMATION / HELP is available at the  IBM-HelpCenter

Please see the LEGAL  -  Trademark notice.
Feel free - send a Email-NOTE  for any BUG on this page found - Thank you.