 |
IBM-AUSTRIA - PC-HW-Support 30 Aug 1999 |
How to Disable the Power-On Password (TP 560Z - 2640)
How to Disable the Power-On Password
When Only the Power-on Password is Set.
- Power off the computer.
- Turn the computer upside down.
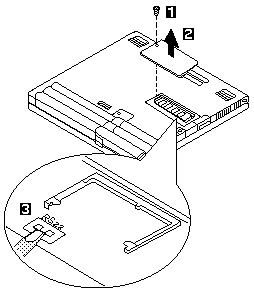
- Loosen the DIMM socket lid screw -1- , and remove the DIMM socket lid -2-.
- Short the power-on password jumper pads (R522) -3- .
- Power on the computer and wait until the POST ends.
The password is cleared.
- Reinstall the DIMM socket lid, and turn the computer right side up.
- Verify that the password promp does not appear.
- To reactivate the password, set the password again.
When Both Power-on Password and Supervisor Password are Set
- Power off the computer.
- Press and hold F1, then power on the computer.
After a few seconds, the password prompt appears.
- Enter your supervisor password. The Easy-setup Main Menu appears.
- Select Password and then Power on. A rectangular box appears.
- Enter your supervisor password and press the Space bar once.
- Press Enter twice.
- Select Exit.
- Select Restart on the Easy-Setup Main Menu and wait until the POST ends.
- Reinstall the DIMM socket lid, and turn the computer right side up.
Verify that the password prompt does not appear. To reactivate the password, set the password again.
Power Shutdown Switch: The Power Shutdown switch resets the system
regardless of the microcode status and forces a power off. Use this push button to power off
when power is not completely off or when the microcode is in a hung state.
See 'Bottom View' for the location of this switch.
Back to 
More INFORMATION / HELP is available at the IBM-HelpCenter
Please see the LEGAL - Trademark notice.
Feel free - send a
for any BUG on this page found - Thank you.