 |
IBM-AUSTRIA - PC-HW-Support 30 Aug 1999 |
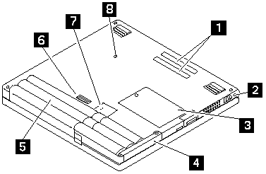
Bottom View (TP 560Z - 2640)
Bottom View
- System-Expansion Connectors
- Security Keyhole
- Memory Slot
- Hard Disk Drive Slot
- Battery Pack
- Battery Pack Latch
- Backup Battery Slot
- Power Shutdown Switch
More INFORMATION / HELP is available at the IBM-HelpCenter
Please see the LEGAL - Trademark notice.
Feel free - send a
for any BUG on this page found - Thank you.