 |
IBM-AUSTRIA - PC-HW-Support 30 Aug 1999 |
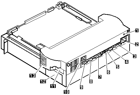
Rear View (3546)
Rear View
- Security hole
- Audio-in and Audio-out
- Parallel Connector (25-pin)
- Serial Connector (9-pin)
- Mouse/Pointing Device Connector (6-pin)
- Keyboard/Numeric Keypad Connector
- External SCSI Connector
- External Display Connector (15-pin)
- External Diskette Drive Connector (26-pin)
- Power Cord Connector
- PCMCIA Slots
- ISA Slots
- Right Speaker
More INFORMATION / HELP is available at the IBM-HelpCenter
Please see the LEGAL - Trademark notice.
Feel free - send a
for any BUG on this page found - Thank you.