Return to MAIN-Index  Return to SUB-Index    IBM-AUSTRIA - PC-HW-Support    30 Aug 1999

1100 Blank Cover Group (3546)



1100 Blank Cover Group

Removal for AT Card Cover

 


Removal for 1-inch Height and Half Height

 

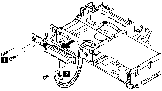
Removal for LCD Circuit Board Group

 

Step Color/type (quantity) Length
1 Binding head screw
with washer (3)
Diameter: 3 mm (0.12 in.)
6 mm (0.24 in.)


More INFORMATION / HELP is available at the  IBM-HelpCenter

Please see the LEGAL  -  Trademark notice.
Feel free - send a Email-NOTE  for any BUG on this page found - Thank you.