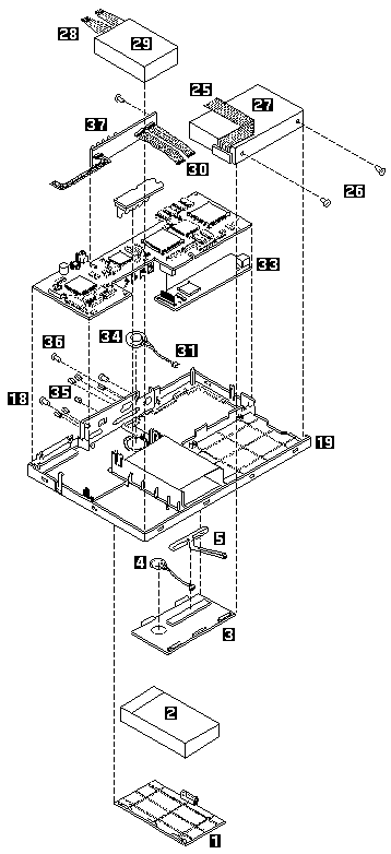
ThinkPad 350 Exploded View (2618)


ThinkPad 350 Exploded View

 

 


More INFORMATION / HELP is available at the  IBM-HelpCenter

Please see the LEGAL  -  Trademark notice.
Feel free - send a Email-NOTE  for any BUG on this page found - Thank you.