 |
IBM-AUSTRIA - PC-HW-Support 30 Aug 1999 |
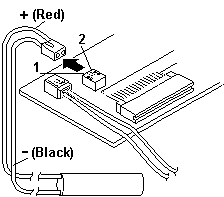
Testing the Standby Battery (8551)
Testing the Standby Battery
- Place the computer bottom-side up.
- Remove the battery pack from the computer and remove the
bottom cover.
- Disconnect the battery connector from the voltage converter.
- Plug the AC adapter into the computer and power-on the computer.
- Measure the output voltage at the connector on the voltage converter.
| Pin |
Voltage (Vdc) |
| 1 |
+.4 |
| 3 |
Ground |
- If the voltage is less than +.4 V dc, replace the voltage
converter.
- If the voltage is greater than +.4 V dc, go to the next step.
- Power-off the computer.
- Reconnect the standby battery to the voltage converter.
- Power-on the computer and leave it approximately 30 minutes to allow
the standby battery to be charged.
- Power-off the computer again and disconnect the standby battery.
- Measure the voltage of the standby battery.
- If the voltage is less than 3.5 V dc, replace the standby battery.
- If the voltage is greater than 3.5 V dc, replace the voltage converter.
Back to 
More INFORMATION / HELP is available at the IBM-HelpCenter
Please see the LEGAL - Trademark notice.
Feel free - send a
for any BUG on this page found - Thank you.