Return to MAIN-Index  Return to SUB-Index    IBM-AUSTRIA - PC-HW-Support    30 Aug 1999

Testing the Battery Pack (8551)



Testing the Battery Pack
  1.  Place the computer bottom-side up.
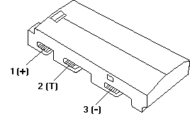
  2.  Remove the battery pack and measure the voltage at the battery  terminals between 1 (+.) and 3 (-).

     

    Pin Voltage (Vdc)
    1 +.8.5 to +.18.0
    2 Thermal Detection
    3 Ground

     

  3.  Using a low-power ohm meter, measure the resistance at  the battery terminals between

      2 (T) and 3 (-)
      The resistance must be 4 kilohms to 30 kilohms.

     If the resistance is out of range, replace the battery pack.

  4.  Remove the bottom cover and set the battery pack in place without  connecting any external power devices.
  5.  Measure the voltage at the connector between terminals 1  (+.) and 3 (-) on the voltage converter and note the voltage.

     

  6.  Using the AC adapter, apply external power to the computer.

        Be careful not to cause a short circuit while doing the following steps.  The charging circuit is active even if the computer power switch is  set to off.

  7.  Measure the voltage again between terminals

      1 (+.) and 3 (-).


Back to  Jump to TOP-of-PAGE
More INFORMATION / HELP is available at the  IBM-HelpCenter

Please see the LEGAL  -  Trademark notice.
Feel free - send a Email-NOTE  for any BUG on this page found - Thank you.