Return to MAIN-Index  Return to SUB-Index    IBM-AUSTRIA - PC-HW-Support    30 Aug 1999

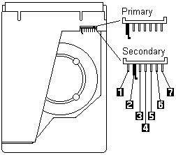
IBM 1.2GB & 1.7 AT Hard Disk Drive (Deskstar)


 

See Part-Two (fullscreen)