Return to MAIN-Index  Return to SUB-Index    IBM-AUSTRIA - PC-HW-Support    30 Aug 1999

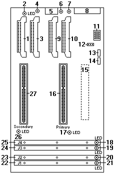
System / Processor - Board Locations (Netfinity 5500-M10 - Type 8661)



5500-M10 Type 8661 - System Board Locations
 

5500-M10 Type 8661 - Processor Board Locations

 

See Part-Two (fullscreen)