|
|
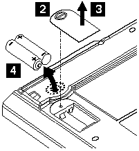
If the backup batteries are removed and no other power
source is available (AC Adapter or battery pack),
the system is reset, and all the stored data is lost.
1. Turn the WorkPad z50 upside down.

| Step | Size (Quantity) | Color | Torque | Length |
|---|---|---|---|---|
| 2 | Coin screw M2.5 (1) |
Black | 3 kgcm | 4.0 mm |
NOTE: You can loosen the captive screw in step 2,
but cannot remove it from the backup battery cover.
Please see the LEGAL - Trademark notice.
Feel free - send a
for any BUG on this page found - Thank you.