Return to MAIN-Index  Return to SUB-Index    IBM-AUSTRIA - PC-HW-Support    30 Aug 1999

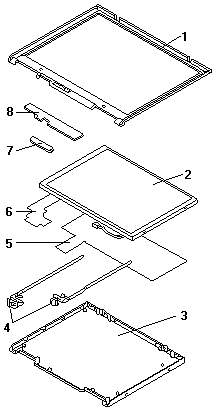
LCD 13.3-inch SVGA TFT - Parts List - (ThinkPad 570 Type 2644)



LCD 13.3-inch SVGA TFT - Parts TP 570 - 2644

 

See Part-Two (fullscreen)