Return to MAIN-Index  Return to SUB-Index    IBM-AUSTRIA - PC-HW-Support    30 Aug 1999

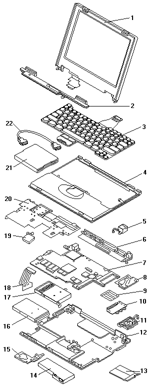
Parts - (ThinkPad 570 Type 2644)



Parts - ThinkPad 570 - Type 2644
 

See Part-Two (fullscreen)