Return to MAIN-Index  Return to SUB-Index    IBM-AUSTRIA - PC-HW-Support    30 Aug 1999

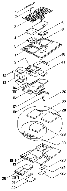
System Unit Parts (TP 390E - 2626)



ThinkPad 390E 2626

 

See Part-Two (fullscreen)