Return to MAIN-Index  Return to SUB-Index    IBM-AUSTRIA - PC-HW-Support    30 Aug 1999

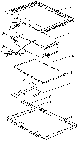
12.1-Inch LCD Unit Parts - TP i-Series 1400 - 2611



12.1-Inch LCD Unit Parts - TP i-Series 1400 - 2611
 

See Part-Two (fullscreen)