Return to MAIN-Index  Return to SUB-Index    IBM-AUSTRIA - PC-HW-Support    30 Aug 1999

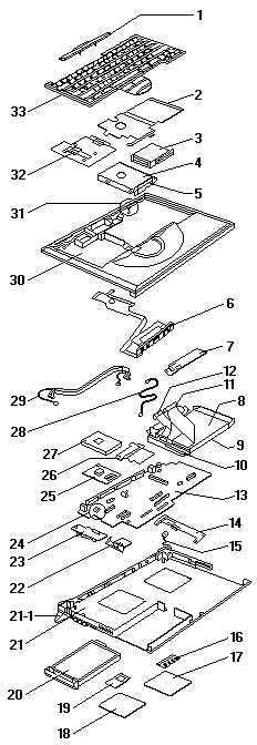
System Unit Parts - TP i - Series 1400 - 2611



System Unit Parts - TP i-Series 1400 - 2611
 

See Part-Two (fullscreen)