|
|

| Step | Size (Quantity) | Head & Color | Torque | Memo |
|---|---|---|---|---|
| 2 | M2.5x6L (2) | Bind head, black | 3.2 kgf-cm | w/ nylok paste |
NOTE: Make sure you use the correct screw for replacement.

- Attention - You must pull out the CD tray before removing
the Diskette and CD-ROM Drives Assembly. Use a small
stick to press the CD-ROM-drive-emergency-eject hole to
open the CD-tray.
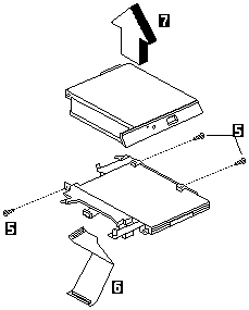
CD-ROM Module

| Step | Size (Quantity) | Head & Color | Torque | Memo |
|---|---|---|---|---|
| 5 | M2x4L (3) | Pan head, silver | 1.2 kgf-cm |
NOTE: Make sure you use the correct screw for replacement.
- CAUTION -
Do not disassemble the CD-ROM, there are no user
adjustments or serviceable parts inside. The use of
controls, adjustments or performing procedures other
than those specified may result in hazardous radiation
exposure.
Do not apply any extra force to the CD-ROM drive
when removing it.
Diskette Drive (FDD with Bezel)

| Step | Size (Quantity) | Head & Color | Torque | Memo |
|---|---|---|---|---|
| 9 | M2.5x3.5L (4) | Bind head, black | 1.6 kgf-cm | /w nylok paste |
NOTE: Make sure you use the correct screw for replacement.
Please see the LEGAL - Trademark notice.
Feel free - send a
for any BUG on this page found - Thank you.