|
|

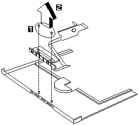
| Step | Size (Quantity) | Head & Color | Torque | Memo |
|---|---|---|---|---|
| 1 | M2x4L (2) | Pan head, silver | 1.6 kgf-cm |
NOTE: Make sure you use the correct screw for replacement.
Please see the LEGAL - Trademark notice.
Feel free - send a
for any BUG on this page found - Thank you.