Return to MAIN-Index  Return to SUB-Index    IBM-AUSTRIA - PC-HW-Support    30 Aug 1999

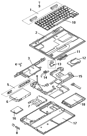
Parts (TP 240 - 2609)



Parts Listing TP 240 - Type 2609

 

See Part-Two (fullscreen)