 |
IBM-AUSTRIA - PC-HW-Support 30 Aug 1999 |
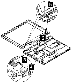
LCD Unit (TP 240 - 2609)
LCD Unit Asm
Note: The Cu tape must be reseated firmly after the LCD unit Asm is replaced -3-.
To remove the LCD unit Asm:
- Remove the screws as shown.
- Turn the notebook over, then remove the hinge covers.
- Remove the Cu tape from the FPC cable.
- Disconnect the LCD FPC cable from the system board.
- Remove the LCD hinge screws.
- Raise the upper cover enough to remove the FPC cable. Remove the LCD unit.
| Step |
Size (Quantity) |
Head & Color |
Torque |
| 1 |
M2.0 x 4 (2) |
Flat head, black |
2.5 kgf-cm |
| 5 |
M2.5 x 6 (4) |
Flat head, black |
3.5 kgf-cm |
Note: Make sure you use the correct screw for replacement.
More INFORMATION / HELP is available at the IBM-HelpCenter
Please see the LEGAL - Trademark notice.
Feel free - send a
for any BUG on this page found - Thank you.