Return to MAIN-Index  Return to SUB-Index    IBM-AUSTRIA - PC-HW-Support    30 Aug 1999

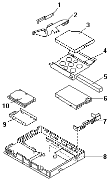
Parts Listing (380Z - 2635)


System Unit - Parts
 
Hard Disk Drive, CD-ROM, Diskette Drive - Parts

 

See Part-Two (fullscreen)