|
|

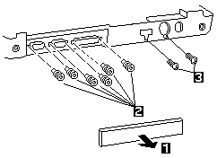
| Step | Size (Quantity) | Torque |
|---|---|---|
| 2 | Hex stud screw, silver hex-head (6) | 4kgcm |
| 3 | M2 x 3 mm, yellow pan-head (2) | 1.5kgcm |
When re-installing: Make sure you use the correct screw,
and tighten it firmly to the torque shown in the table if you
have a torque screwdriver. Never use a screw that you removed. Use a new one. Make sure the screw is
tightened firmly (see 'Screw Tightening Information' if you do not have a torque screwdriver).

| Step | Size (Quantity) | Torque |
|---|---|---|
| 5 | M2.5 x 4mm, black bind (4) | 4kgcm |
When re-installing: Make sure you use the correct screw,
and tighten it firmly to the torque shown in the table if you
have a torque screwdriver. Never use a screw that you removed. Use a new one. Make sure the screw is
tightened firmly (see 'Screw Tightening Information' if you do not have a torque screwdriver).
Please see the LEGAL - Trademark notice.
Feel free - send a
for any BUG on this page found - Thank you.