 |
IBM-AUSTRIA - PC-HW-Support 30 Aug 1999 |
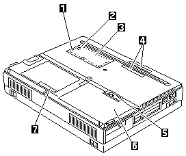
Bottom View (TP 380XD, 385XD, 380Z - 2635)
Bottom View
- Memory-slot cover
- Power shutdown switch
- Memory slot
- Expansion connectors
- Battery pack lock
- Battery pack
- Serial number label
More INFORMATION / HELP is available at the IBM-HelpCenter
Please see the LEGAL - Trademark notice.
Feel free - send a
for any BUG on this page found - Thank you.