|
|

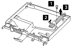
| Step | Size (Quantity) | Torque |
|---|---|---|
| 1 | M2.5 x 6mm, nylon-coated (1) | 3-4 kgcm |
NOTE: Make sure you use the correct screw, and tighten all
screws firmly to the torque shown in the table, if you have a torque screwdriver.
Never use a screw that you removed.
Use a new one. Make sure the screws are tightened firmly.
TFT LCD.

| Step | Size (Quantity) | Torque |
|---|---|---|
| 2 | M2 x 3.7mm, nylon-coated (2) | 3-4 kgcm |
NOTE: Make sure you use the correct screw, and tighten all
screws firmly to the torque shown in the table, if you have a torque screwdriver.
Never use a screw that you removed.
Use a new one. Make sure the screws are tightened firmly.
Please see the LEGAL - Trademark notice.
Feel free - send a
for any BUG on this page found - Thank you.