Return to MAIN-Index  Return to SUB-Index    IBM-AUSTRIA - PC-HW-Support    30 Aug 1999

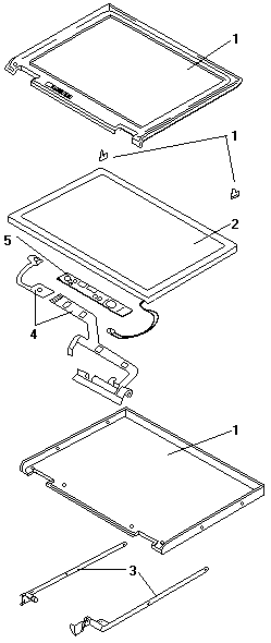
Parts Listing - 13.0-Inch HPA-LCD (600-2645)



Parts - 13.0-Inch HPA-LCD

 

See Part-Two (fullscreen)