 |
IBM-AUSTRIA - PC-HW-Support 30 Aug 1999 |
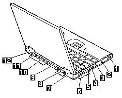
Rear View (TP 600/600E - 2645)
Rear View (TP 600/600E - 2645)
- LCD Latch
- Security Keyhole
- Modem Port
- Power Switch
- Reset Switch
- Universal Serial Bus Connector (USB)
- AC Adapter Jack
- Serial Connector
- System Expansion Connector
- Parallel Connector
- External Monitor Connector
- External-Input-Device Connector
More INFORMATION / HELP is available at the IBM-HelpCenter
Please see the LEGAL - Trademark notice.
Feel free - send a
for any BUG on this page found - Thank you.