 |
IBM-AUSTRIA - PC-HW-Support 30 Aug 1999 |
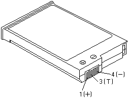
Checking the Battery Pack (TP-770 - 9548/49)
Checking the Battery Pack
If the battery pack has a problem, do the following:
- Power off the computer.
- Remove the battery pack and measure the voltage between terminals 1 (+) and 4 (-).
See the following figure:
| Terminal |
Voltage (Vdc) / Signal |
| 1 |
0 to +13.5 |
| 2 |
Send |
| 3 |
Thermal |
| 4 |
Ground (-) |
| 5 |
Select |
NOTE: Signal lines not used in these steps are used for communication between the
system and the battery.
- If the voltage is les than +11.0 Vdc, the battery pack has been discharged. Recharge the battery pack.
If the voltage is still less than +11.0 Vdc after recharging, replace the battery.
NOTE: If the voltage of the battery pack is 0 V, it is defective.
- If the voltage is more than +11.0 Vdc, measure the resistance between battery terminals 3 and 4.
The resistance must be 4 to 30 K ohm.
If the resistance is not correct, replace the battery pack.
If the resistance is correct, replace the DC/DC card.
Checking Operational Charging
NOTE: Battery charging will not start until the Fuel-Gauge shows that less
than 95% of the total power remains, with this condition the battery pack will charge to 100% of its capacity.
This restriction protects the battery pack from being overcharged or from having a shortened life.
To check operational charging, use a discharged battery pack or a battery pack that has less than 50% of the total power remaining
when installed in the computer.
Power on the computer while it is connected to the AC Adapter. If the battery status indicator does not turn on, power off the computer,
remove the battery pack and let the battery pack, return to room temperature. Reinstall the battery pack, and power on the computer
(still connected to the AC Adapter). If the charge indicator still does not turn on, the battery pack should be replaced.
Back to 
More INFORMATION / HELP is available at the IBM-HelpCenter
Please see the LEGAL - Trademark notice.
Feel free - send a
for any BUG on this page found - Thank you.