|
|

| Step | Size (Quantity) | Head and Color | Memo |
|---|---|---|---|
| 1 | M2.5x18L (3) | Pan head, silver | |
| 2 | M2.5x6L (4) | Pan head, black | w/ nylock paste |
| 3 | M2x4L (1) | Flat head, black |
NOTE: Be sure to use the correct screw when replacing.
TrackPoint Board, TrackPoint Button and
TrackPoint Board FPC Cable

| Step | Size (Quantity) | Head and Color | Memo |
|---|---|---|---|
| 1 | M2x4L (2) | Pan head, silver |
NOTE: Be sure to use the correct screw when replacing.
Fan
When removing the fan, do not tilt the fan too much to any one side
The post that steadies the fan is delicate and will breakif too much pressure is exerted on it.
Take care in removing the fan, it should be done as vertically as possible.

The fan cable should follow the path shown in the figure. If the fan
cable gets pressed or weighed down and is damaged, the chassis might get short-circuited as a result.

When removing the fan, do not tilt the fan too much to any one side.
The post that steadies the fan is delicate and will breakif too much pressure is exerted on it.
Take care in removing the fan, it should be done as vertically as possible.
Audio Connector Board

Take care in removing the audio connection board (see figure) to avoid damaging the LEDs.
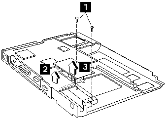
Battery Connector Board

| Step | Size (Quantity) | Head and Color | Memo |
|---|---|---|---|
| 2 | M2.5x6L (2) | Pan head, black | w/ nylock paste |
NOTE: Be sure to use the correct screw when replacing.
Speaker and Cover Switch Cables


If you want to remove the chassis with the system board out of the lower base,
the PCMCIA slot buttons should be upriht then pushed in (1 2) before you begin this
removal procedure.

| Step | Size (Quantity) | Head and Color | Memo |
|---|---|---|---|
| 3 | M2.5x6L (2) | Pan head, black | w/ nylock paste |
| 4 | M2x4L (2) | Pan head, silver |
NOTE: Be sure to use the correct screw when replacing.
PCMCIA Door and PCMCIA Door Spring


| Step | Size (Quantity) | Head and Color | Memo |
|---|---|---|---|
| 1 | M2x4L (2) | Pan head, silver |
NOTE: Be sure to use the correct screw when replacing.
System Board
When you have replaced the system board, follow the instructions in
Setting Thermal Sensor Threshold

| Step | Size (Quantity) | Head and Color | Memo |
|---|---|---|---|
| 1 | M2x4L (2) | Pan head, silver | |
| 2 | M2x4L (2) | Pan head, black | w/ nylock paste |
| 3 | M2x4L (2) | Pan head, silver | w/ brackets |
| 4 | M2x4L (1) | Pan head, silver |
NOTE: Be sure to use the correct screw when replacing.
The backup battery is a lithium battery and can
cause a fire, explosion, or severe burns. Do not charge it, heat is higher than 100°C (212°F),
incinerate it, or expose its cell contents to water. Dispose of the battery as required by local
ordinances or regulations. Use of an incorrect battery can result in ignition or explosion of the
battery. Replacement batteries can be ordered from IBM or IBM authorized dealers.



| Step | Size (Quantity) | Head and Color | Memo |
|---|---|---|---|
| 1 | M2x14L (2) | Pan head, silver | w/ brackets |
NOTE: Be sure to use the correct screw when replacing.
Please see the LEGAL - Trademark notice.
Feel free - send a
for any BUG on this page found - Thank you.