 |
IBM-AUSTRIA - PC-HW-Support 30 Aug 1999 |
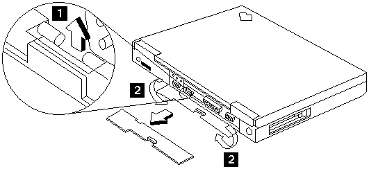
I/O Door (2600-310/310D/310E/310ED)
I/O Door
Press the rear connector door latch to open the door.
Remove the center latch, then remove the rear connector door by flexing it.
More INFORMATION / HELP is available at the IBM-HelpCenter
Please see the LEGAL - Trademark notice.
Feel free - send a
for any BUG on this page found - Thank you.