Return to MAIN-Index  Return to SUB-Index    IBM-AUSTRIA - PC-HW-Support    30 Aug 1999

2010 Palm Rest (765D-9546 765L-9547)



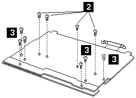
2010 Palm Rest


1 Turn the keyboard upside down.

 

Step Size (quantity) Memo (torque)
2 M2.5x5 mm (4) Flathead (3kgcm)
3 M2.5x4 mm (6) (3kgcm)


NOTE: Do not reuse (see Screw Kit - FRU P/N) a screw you removed. Use a new screw and tighten the screw to the torque specification shown.

1 Turn the keyboard right-side down.

 


More INFORMATION / HELP is available at the  IBM-HelpCenter

Please see the LEGAL  -  Trademark notice.
Feel free - send a Email-NOTE  for any BUG on this page found - Thank you.