 |
IBM-AUSTRIA - PC-HW-Support 30 Aug 1999 |
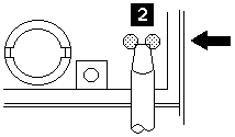
Power-On Password Jumper Pads (2625 365X, XD)
Power-On Password Jumper Pads
The power-on password jumper pads are found on the system board
near the backup battery, as shown in the figures.
- Push out the door at 1.
- See 'How to Disable the Power-On Password' to cancel the power-on password.
Apply the short across the Power-On Password Jumper Pads
at 2.
When using a metal tool to short the two jumper pads, make sure the
metal tool does not touch any metal part other than the two jumper pads.
More INFORMATION / HELP is available at the IBM-HelpCenter
Please see the LEGAL - Trademark notice.
Feel free - send a
for any BUG on this page found - Thank you.