|
|
DSTN or TFT 1

+----+----+-------+
|Step|Qty |Torque | Screw No.
+----+----+-------+
1 2 3kgcm
-------------------
3 3 3kgcm
NOTE: Make sure you use the correct screw, and tighten
it firmly to the torque shown in the table if you have a torque screwdriver.
Never use a screw that you removed. Use a new one. Make sure the screw is tightened firmly.
(see Screw Tightening Information
if you do not have a torque screwdriver.)
When replacing:
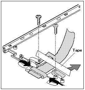
See the following figure:


+----+----+-------+
|Step|Qty |Torque | Screw No.
+----+----+-------+
1 2 3kgcm
-------------------
3 3 3kgcm
NOTE: Make sure you use the correct screw, and tighten
it firmly to the torque shown in the table if you have a torque screwdriver.
Never use a screw that you removed. Use a new one. Make sure the screw is tightened firmly.
(see Screw Tightening Information
if you do not have a torque screwdriver.)
When replacing:
See the following figure.
