Return to MAIN-Index  Return to SUB-Index    IBM-AUSTRIA - PC-HW-Support    30 Aug 1999

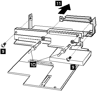
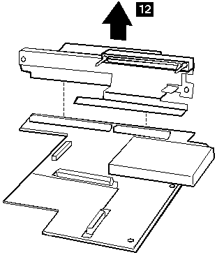
1070 Riser Card/Main Board (3547)



1070 Riser Card/Main Board

 

Step Length (Quantity) Location
1 M 2.6 x 5 mm (1) Main Board
1 M 2.6 x 6 mm (2) FDD connector
1 M 2.6 x 8 mm (2) HDD connector
2 M 2.6 x 8 mm (1)  
3 M 2.6 x 3 mm (1) Precision screw
4 M 2.6 x 8 mm (1)  

 

Step Length (Quantity) Location
5 M 2 x 4 mm (2) Flat head

 

Step Length (Quantity) Location
7 a: M 2.6 x 5 mm (1)
b: M 2.5 x 3 mm (3)
b: Bottom of the base cover

 

Step Length (Quantity) Location
9 M 2.6 x 4 mm (2) Self tap

 


More INFORMATION / HELP is available at the  IBM-HelpCenter

Please see the LEGAL  -  Trademark notice.
Feel free - send a Email-NOTE  for any BUG on this page found - Thank you.