 |
IBM-AUSTRIA - PC-HW-Support 30 Aug 1999 |
Checking the AC Adapter (2625)
Checking the AC Adapter
You are here because the computer fails only when the AC Adapter
is used.
- If the power problem occurs only when the port replicator is used,
replace the replicator.
- If the power-on indicator does not turn on, check the power
cord of the AC Adapter for correct continuity and installation.
- If the operational charge does not work, go to
Checking Operational Charging
Use the following procedure to check the adapter.
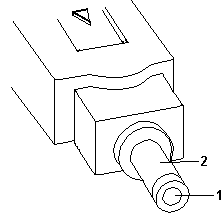
- Unplug the AC Adapter cable from the computer and
measure the output voltage at the plug of the AC Adapter cable.
| Pin |
Voltage (Vdc) |
| 1 |
+10.0 to +16.0 |
| 2 |
Ground |
- Unplug the AC Adapter cable from the ac power outlet and wait
five minutes or longer to allow the over voltage protection circuit
to be fully discharged and initialized.
- Plug the AC Adapter cable into the ac power outlet.
- Measure the output voltage of the AC Adapter.
- If the voltage is still not correct, replace the AC Adapter.
NOTE:
An audible noise from the
AC Adapter does not always indicate a defective adapter.
Back to 
More INFORMATION / HELP is available at the IBM-HelpCenter
Please see the LEGAL - Trademark notice.
Feel free - send a
for any BUG on this page found - Thank you.