 |
IBM-AUSTRIA - PC-HW-Support 30 Aug 1999 |
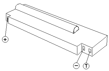
Battery Pack Test (2523)
Battery Pack Test
- Remove the battery pack.
- Measure the voltage at the battery contacts as shown below.
| Contacts |
Voltage (Vdc) |
| + |
+9.0 to +12.6 |
| - |
Ground |
- If the voltage is not correct, charge the battery.
- If the voltage is not correct after being charged,
replace the battery.
- If the voltage is correct, suspect a short circuit or failure in the
computer. Go to the 'Short Circuit Test'
Use the following procedure to check if the thermal protection has
tripped.
- Measure the resistance with an ohmmeter between the T
and - contacts.
- The resistance should not be open (infinity).
The thermal protection is detected when the temperature exceeds
70°C to 80°C (158°F to 176°F).
Wait until the battery temperature becomes normal, then
verify the resistance at the battery terminals. If it is open, replace
the battery.
Back to 
More INFORMATION / HELP is available at the IBM-HelpCenter
Please see the LEGAL - Trademark notice.
Feel free - send a
for any BUG on this page found - Thank you.