 |
IBM-AUSTRIA - PC-HW-Support 30 Aug 1999 |
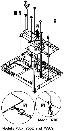
2080 Speaker Assembly
2080 Speaker Shield Assembly
Models 750x, 755C, and 755Cs
and Model 370C
- Carefully remove any metal particles that might have flaked off.
- The shaded part in the figure is attached
to the speaker shield assembly
with light adhesive. This FRU is a separate FRU
from the speaker shield assembly.
1 Remove the screws.
2 Gently raise the speaker shield assembly
to avoid damaging the speaker cable and make sure that the
shield assembly does not hook the three flexible cables of the keyboard.
3 Disconnect the speaker connector.
When Disconnecting the Connector
- Do not pull the speaker cable before the audio card is removed.
- Be careful not to damage the speaker with screwdrivers, screws,
or other objects. A scratch will damage the speaker.
- When replacing the speaker shield, insert it
under the projection at the left, rear corner of the computer base.
Use the following table for reference when replacing parts.
| Step |
Location (Quantity) |
Length |
| 1a |
Speaker shield (4) |
4 mm |
| 1b |
Hard disk drive connector (2) |
6 mm |
| 1c |
System board (1) |
16 mm |
| 1d |
System board, spacer (1) |
16 mm |
| 1e |
Diskette drive connector (2) |
6 mm |
NOTE: Make sure you use the correct screw. Screw Size Chart
1d shows the correct position of the spacer.
2 is a shield for radio frequency interference.
Back to 
More INFORMATION / HELP is available at the IBM-HelpCenter
Please see the LEGAL - Trademark notice.
Feel free - send a
for any BUG on this page found - Thank you.